首页
新的苹果潜望镜镜头专利可能适用于2023年的iPhone系列
返回

新的苹果潜望镜镜头专利可能适用于2023年的iPhone系列

2022-12-18 科技信息 By:佚名
最佳答案自去年以来,分析师一直声称苹果将在未来的 iPhone 系列中添加潜望镜摄像头。早在 3 月份,人们就认为我们可能要到 2023 年才能看到任何配备它的 iPhone 。无论如何,苹果潜望镜相机的新专利已经被发现。根据Patently Apple 的说法,这家库比蒂诺公司刚刚获得了欧洲专利商标局的“折叠相机&rdq...

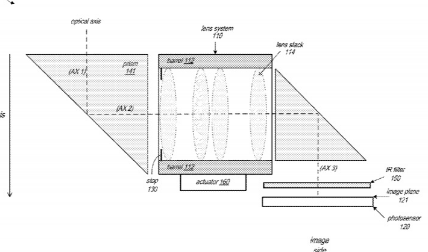
自去年以来,分析师一直声称苹果将在未来的 iPhone 系列中添加潜望镜摄像头。早在 3 月份,人们就认为我们可能要到 2023 年才能看到任何配备它的 iPhone 。无论如何,苹果潜望镜相机的新专利已经被发现。

根据Patently Apple 的说法,这家库比蒂诺公司刚刚获得了欧洲专利商标局的“折叠相机”专利。它提到在移动设备中使用多镜头系统“以低 F 值捕获高分辨率、高质量的图像”。顺便说一下,这里的 F 可能指的是镜头的光圈。基本上,它描述的是潜望镜相机模块。

此前有传言称,苹果将为 2023 款 iPhone 系列配备潜望式摄像头。但该公司可能不会将其仅限于 iPhone,因为该专利还提到了“平板电脑和平板设备”。这可能意味着 Apple 正在考虑将其添加到 iPad 中,尽管它不是最实用的实现方式。

猜你喜欢
篮球的电视剧有哪些(篮球电视剧大全)

篮球的电视剧有哪些(篮球电视剧大全)

12-19 0 阅读
散光眼怎样治疗(散光眼如何治疗)

散光眼怎样治疗(散光眼如何治疗)

12-18 0 阅读
哈尔滨63号公告(哈)

哈尔滨63号公告(哈)

12-18 0 阅读
闲鱼消费者保障服务要开吗(闲鱼消费者保障服务怎么开)

闲鱼消费者保障服务要开吗(闲鱼消费者保障服务怎么开)

12-18 0 阅读
三星s9配置参数(三星s9000)

三星s9配置参数(三星s9000)

12-18 0 阅读
2010广州车展(2010年广州车展地点及展馆名称还有开幕时间)

2010广州车展(2010年广州车展地点及展馆名称还有开幕时间)

12-19 0 阅读
热门推荐
篮球的电视剧有哪些(篮球电视剧大全)

篮球的电视剧有哪些(篮球电视剧大全)

12-19 0 阅读
散光眼怎样治疗(散光眼如何治疗)

散光眼怎样治疗(散光眼如何治疗)

12-18 0 阅读
哈尔滨63号公告(哈)

哈尔滨63号公告(哈)

12-18 0 阅读
闲鱼消费者保障服务要开吗(闲鱼消费者保障服务怎么开)

闲鱼消费者保障服务要开吗(闲鱼消费者保障服务怎么开)

12-18 0 阅读
三星s9配置参数(三星s9000)

三星s9配置参数(三星s9000)

12-18 0 阅读
2010广州车展(2010年广州车展地点及展馆名称还有开幕时间)

2010广州车展(2010年广州车展地点及展馆名称还有开幕时间)

12-19 0 阅读
拟人的作用和好处答题模板(拟人的作用)

拟人的作用和好处答题模板(拟人的作用)

12-19 0 阅读
装宽带哪家好点(装宽带哪家好)

装宽带哪家好点(装宽带哪家好)

12-18 0 阅读
三星提高可折叠设备的产能

三星提高可折叠设备的产能

12-18 0 阅读
暂付款是应收还是应付(暂付款)

暂付款是应收还是应付(暂付款)

12-18 0 阅读